产品更新 | 企微聊天记录质检功能上线!

  • 网易互客
  • 2021-05-19

本文转载自公众号:网易互客,作者:admin

互客小课堂 022

图片

支持大文件

 
销售文件支持最大上传500M的文件
注:大文件上传后,需要约1分钟时间转化完成,才可以正常预览

图片

 

 

图片

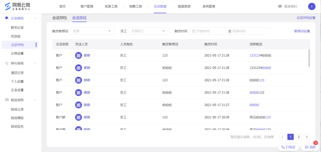
企微会话存档简单质检功能

 

2.1 功能概述

为了让企业管理者更好的管控员工与客户销售过程,增加企微会话存档的会话质检功能:
功能权限:此功能仅企业所有者和管理员可使用
访问路径:互动渠道--会话存档--会话质检

图片

 

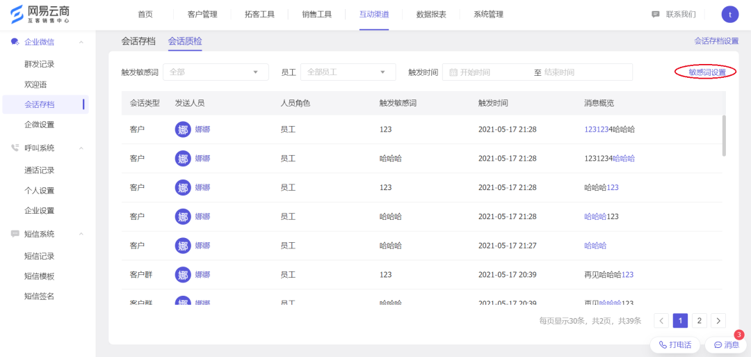
2.2 敏感词设置

点击“敏感词设置”,弹出当前敏感词列表弹窗,可对敏感词进行增/删操作:

图片

列表展现每个敏感词触发消息数、添加人员和时间,并可对已配置的敏感词进行删除,并可添加敏感词:

图片

每个敏感词不能超过十个字,点击保存即可添加完成,每个客户最多添加100个敏感词。

图片

右下角可配置开启/关闭质检通知,即触发敏感词的会话消息产生的时候,是否给管理员及企业所有者发送站内通知。

图片

 

2.3 敏感词触发记录&通知

敏感词配置生效后,当员工与客户的私聊或群聊消息触发了对应敏感词内容,则会展现在质检记录之中。

图片

点击其中一行消息,展现会话过程中触发敏感词的消息,支持跳转到对应会话上下文:

图片

若开启了质检通知,则在员工会话触发敏感词后,会在站内通知中提示:

图片

注:会话消息每个整点更新一次,因此通知也会在每个整点发送。
 
图片
 

立即领取免费试用机会,打造你的销冠团队吧

申请试用